A/D 컨버터 > 표준 ADC > 고속 ADC ≥ 10 MSPS > LTC2208

LTC2208
16비트, 130Msps ADC

LTC2208의 제품 특징
• 샘플링 속도: 130Msps
• 78dBFS 잡음 플로어
• 100dB SFDR
• 250MHz에서 SFDR > 83dB (1.5VP-P 입력 범위)
• PGA 프론트 엔드 (2.25VP-P 또는 1.5VP-P 입력 범위)
• 700MHz 전체 전력 대역폭 S/H
• 내부 디더 옵션
• 데이터 출력 랜더마이저 옵션
• LVDS 또는 CMOS 출력
• 3.3V 단일 전원
• 전력 소모: 1.25W
• 클록 듀티 사이클 안정기
• 핀 호환 14비트 버전 130Msps:
  LTC2208(16비트), LTC2208-14(14비트)
• 64핀(9mm × 9mm) QFN 패키지

* 이 제품은 미국의 수출 통제를 받는 품목이므로 특정 국가에 수출하는 경우 라이선스가 필요하다.

제품 설명
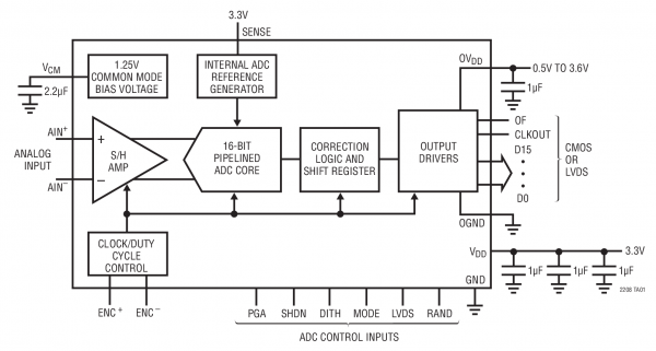
LTC2208은 최대 700MHz의 입력 주파수까지 고주파수, 넓은 동적 범위 신호를 디지털화하도록 설계된 130Msps, 샘플링 16비트 A/D 컨버터이다. ADC의 입력 범위는 PGA 프론트 엔드로 최적화할 수 있다.

LTC2208은 78dBFS 잡음 플로어 및 100dB 스퓨리어스 프리 동적 범위(SFDR)를 포함한 AC 성능으로 까다로운 통신 애플리케이션에 이상적이다. 또한 70fsRMS의 매우 낮은 지터로 높은 입력 주파수를 탁월한 잡음 성능으로 언더샘플링할 수 있다. 최대 DC 규격은 전체 온도에서 ±4LSB INL, ±1LSB DNL(미싱 코드 없음)을 포함한다.

디지털 출력은 차동 LVDS 또는 단일 종단 CMOS가 될 수 있다. CMOS 출력에는 전체 데이터 속도로 동작하는 단일 버스 또는 절반의 데이터 속도로 동작하는 역다중화 버스의 두 가지 형식의 옵션이 있다. 또한 개별적인 출력 전원에서 CMOS 출력은 0.5V에서부터 3V까지 스윙할 수 있다.

ENC+ 및 ENC– 입력은 정현파, PECL, LVDS, TTL 또는 CMOS 입력으로 차동 또는 단일 종단으로 구동할 수 있다. 옵션인 클록 듀티 사이클 안정기는 넓은 범위의 클록 듀티 사이클과 전체 속도에서 높은 성능을 제공한다.

일반적인 설계 예

LTC2208-1.png

LTC2208-2.png

애플리케이션
• 통신
• 리시버
• 셀룰러 기지국
• 스펙트럼 분석
• 이미징 시스템
• ATE

PRODUCTS



LTC2323-16
A/D 컨버터 > 표준 ADC > 정밀급 ADC < 20 MSPS > 멀티 채널 A/D 컨버터 > LTC2323-16 고속 16비트 5Msps 듀얼 SAR ADC 폭넓은 커먼 모드 범위로 유연한 차동 입력 제공
LTC2986
A/D 컨버터 > 통합/특수 목적 컨버터 > 디지털 온도 센서 > LTC2986 0.1°C 정합까지 센서 선형화하는 10채널 범용 온도 측정 IC
AD7381
A/D 컨버터 > A/D 컨버터 > 표준 A/D 컨버터 > 20MSPS이하 정밀급 A/D 컨버터 > 동시 샘플링 A/D 컨버터 > AD7381 2개 동시 샘플링 SAR ADC 차동 입력을 갖추고 있으며 모터 제어 위치 피드백 같은 응용 분야에 이상적인 14비트 ADC
LTC2387-18
A/D 컨버터 > 표준 ADC > 고속 ADC ≥ 10 MSPS > LTC2387-18 지연시간 없는 15Msps, 18-Bit SAR ADC 파이프라인 ADC대비 20dB SNR 기능향상 제공
LTM9001-A_-B
A/D 컨버터 > 표준 ADC > 고속 ADC ≥ 10 MSPS > LTM9001-A_-B 16비트 IF/베이스밴드 리시버 서브시스템
1 2 3 4 5 6

© 2018 Analog Devices | SITE MAP | RSS YouTube Twitter facebook Google Plus LinkedIn Managed by SemiNet

본 사이트 내의 콘텐츠를 무단 복제 사용시 관계 법령에 의거 처벌을 받을 수 있습니다.