프리미엄 오디오 시스템 설계
글/Kevin Duke, Analog applications engineer, TI
이 글에서는 DAC와 TPA6404-Q1을 사용해서 프리미엄 오디오 시스템을 설계하는 것을 설명한다. TPA6404-Q1의 2.1MHz PWM이 어떻게 프리미엄 사운드를 달성하는지 설명한다. 외부 부품, 스키매틱, PCB 레이아웃에 대해서 설명한다. 프리미엄 사운드는 무엇을 말하는 것일까? 이것은 쉽지 않은 질문이다. 사람들마다 주관적이기 때문이다. 어떤 사람들은 순수하게 음질만을 따진다. 또 어떤 사람들은 사양이 얼마나 훌륭한지 따진다. 하지만 대부분 사람들은 둘 다를 고려하는 것이 일반적이다.
이 글에서는 음질 및 사양 모두와 관련해서 잡음, THD+N, IMD, 그룹 지연, 오디오 대역폭 같은 요소들이 어떻게 영향을 미치는지 살펴본다. 가장 중요한 세 가지는 잡음, THD, IMD이다. 잡음에 대해서는 다들 잘 아실 것이다. 잡음을 좋아하는 사람은 없으며, 잡음은 음질을 나쁘게 만든다. 그러므로 어떤 경우든 잡음을 되도록 낮추려고 한다. 여기를 보시면 신호대 잡음비가 있고, 동적 범위가 있다. 이것들 모두가 잡음에 관한 것이며, 이 수치들을 되도록 좋게 해야 한다.

다음은 THD+N이다. THD는 ‘총 고조파 왜곡’을 뜻하는 것으로서, 증폭기 디자이너들이 이 수치를 사용해서 증폭기 선형성을 판단할 수 있다. 사람이 THD를 들을 수 있을까? 이것은 대답하기 어려운 질문이다. 악기나 목소리는 모두가 배음 구조를 바탕으로 한다. 음이 약간 빗나갔다고 했을 때 사람이 0.001%와 0.01%를 구분할 수 있을까? 음질을 판단할 때 항상 하게 되는 질문은, 사람이 THD를 들을 수 있느냐 하는 것이다. THD가 충분히 높다면 당연히 들을 수 있을 것이다.
다음은 IMD이다. IMD는 ‘혼변조 왜곡’을 뜻하는 것으로서, 두 주파수가 섞여서 증폭기 시스템으로 비선형성을 일으키는 것이다. 사람이 IMD를 들을 수 있을까? 조잡하게 설계된 시스템으로 IMD는 THD보다 더 잘 들릴 수 있다. 두 주파수가 섞여서 또 다른 주파수를 발생시킨다. 이에 대해서는 뒤에서 더 설명하겠다.
다음은 그룹 지연이다. 그룹 지연은 시간 왜곡을 나타내는 유용한 지표이다. 그룹 지연은 주어진 주파수로 위상 응답 기울기를 나타내는 척도이다. 그룹 지연에 있어서 변화가 신호 왜곡을 일으킨다. 그룹 지연은 오디오로 중요하게 영향을 미친다. 스피커나 멀티웨이 스피커 크로스오버 네트워크 같은 오디오 재생 사슬을 구성하는 많은 장치들이 오디오 신호로 그룹 지연을 일으킨다. 오디오 사슬을 구성하는 모든 요소가 어느 정도의 그룹 지연과 시간 왜곡을 일으킨다.
중요한 것은, 그룹 지연이 사람에게 들릴 수 있는가 하는 것이다. 여기에 대해서는 논란이 계속되고 있으며, 많은 이들이 시간 왜곡으로 인해서 그룹 지연이 들릴 수 있다고 생각한다. 그러면 디지털 입력 프리미엄 오디오 시스템을 어떻게 설계하는지 보자. 그러기 위해서는 어떤 시스템 설계나 마찬가지로, 시스템을 부분별로 구분해야 한다. 각기 부분을 설계하고 전체적으로 잘 동작하도록 인터페이스해야 한다. 이 시스템은 디지털-아날로그 컨버터 디자인과 증폭기 스테이지 디자인으로 이루어진다.
먼저 Class-D 증폭기를 구동하기 위한 디지털-아날로그 컨버터부터 시작한다. PCM175x 고성능 25비트 스테레오 오디오 DAC를 보자. 이 DAC는 잡음 성능이 106dB로 매우 우수하고, THD+N도 -94dB로 매우 우수하다. 4차 잡음 성분과 8레벨 진폭 균등화 역시 매우 우수하다. 이러한 특징들을 앞세워서 우수한 지터 성능으로 높음 음질을 달성할 수 있다. 훌륭한 동적 성능을 달성할 수 있다. 또한 다중의 전원 레일을 통합함으로써 시스템 복잡성을 낮출 수 있다.
PCM175x DAC 제품은 샘플링을 하면서 대역외 잡음을 발생시킨다. 저역통과 필터를 사용해서 이 잡음을 낮춤으로써 우수한 잡음 성능을 달성할 수 있다. 대역외 잡음을 감쇠시키기 위해서는 외부적 필터링을 사용할 수 있다. 이상적인 필터링이라면 오른쪽 상단 그래프에서 보는 것처럼 대역외 잡음을 완전히 제거할 수 있어야 할 것이다. 하지만 어떤 필터도 이상적일 수 없으며, 롤오프로 인해서 오디오 대역으로 잡음이 유입될 수 있다. PCM175x 디바이스의 잡음 성능을 보자. 이 아키텍처는 디지털 필터와 오버샘플링을 사용해서 출력 잡음 에너지를 20Hz~20KHz의 가청 대역 바깥으로 이동시킨다.

그렇더라도 여전히 대역외 잡음이 아날로그 신호 경로로 원치 않는 에일리어싱을 일으킴으로써 시스템 성능에 영향을 미칠 수 있다. PCM5000 같은 제품은 잡음 성능이 좀 더 향상되었다. DAC에 주로 사용되는 출력 필터 타입을 보자. 왼쪽에 3개 회로를 볼 수 있다. 맨 위는 일차 필터이고, 두 번째는 이차 필터이고, 세 번째는 삼차 필터이다. 그림에서 보듯이, 일차 필터보다는 이차 필터가 오디오 대역 바깥의 잡음을 더 잘 제거하고, 이차 필터보다는 삼차 필터가 더 잘 제거한다. 하지만 차수가 높아질수록 회로가 점점 복잡해진다는 것을 알 수 있다.
이번에는 외부적 잡음 필터 구성을 보자. 위는 수동 일차 RC 필터이고, 아래는 능동 이차 저역통과 필터이다. 이것은 주파수 응답 플롯이다. x는 주파수이고, y는 DAC 출력 잡음이다. 빨간색 선이 이차 필터로서, 고주파수대로 잡음 제거가 적어도 10dB에 이른다는 것을 알 수 있다. 이에 비해서 RC 필터는 잡음 제거가 그렇게 크지 않다.
이 슬라이드는 디스크리트 SMT 부품을 선택하는 것에 관한 것이다. 통상적으로 AC 신호 경로 부품으로는 COG나 NPO가 권장된다. X7R과 여타 세라믹은 DC 커플링이나 바이패스 커패시터에 선호된다. 그래프에서 보듯이, Sallen-Key 저역통과 필터를 사용했을 때 COG의 THD+N(빨간색)은 매우 낮고 일정하다는 것을 알 수 있다. 이에 비해서 0603 또는 1206 사이즈 X7R은 THD+N이 훨씬 높다. 이번에는 TI의 PCM5102A 디지털-아날로그 컨버터를 보자. 2VRMS 출력을 제공하고, 스테레오를 지원하며, 112/106/100dB의 세 가지 동적 범위 제품을 제공한다.
또한 32비트 DAC로서 384KHz를 지원한다. 특징은 대역외 잡음이 극히 낮고 지터 억제가 뛰어나다는 것이다. 이들 저가격대 DAC 제품들 간에 잡음 성능 차이를 보자. 빨간색 선은 PCM5102A로 출력 필터를 사용하지 않은 것이고, 검정색 선은 PCM175x 제품으로 필터를 사용하지 않은 것이다. 그림에서 보듯이, 대역외 구간으로 잡음이 20dB부터 40dB 혹은 50dB까지 향상된다는 것을 알 수 있다.
이번에는 PCM510x 디바이스를 TPA6404-Q1과 인터페이스하기가 얼마나 쉬운지 보자. 먼저 간단한 RC 필터가 필요하다. 넓은 대역폭 증폭기 용으로 153KHz 대역폭을 지원하는 것을 사용할 수 있다. 앞서와 마찬가지로 간단한 DC 블로킹 커패시터가 필요하다. 역시 마찬가지로 RC는 간단한 박막 필름 저항과 COG나 NPO나 전해 커패시터를 사용할 수 있다.
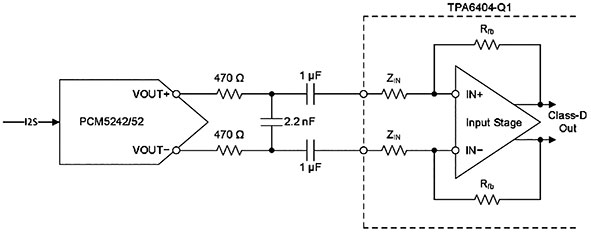
이번에는 차동 출력 PCM5242 디지털-아날로그 컨버터를 보자. 마찬가지로 동적 범위가 114dB로 매우 뛰어나다. 대역외 잡음 성능 역시 뛰어나다. 또 차동 출력을 제공하므로 시스템 내의 증폭기로 공통 모드 제거가 우수하다. PCM5242 또는 PCM5252의 차동 출력을 TPA6404-Q1의 차동 입력으로 어떻게 인터페이스하는지 보자. 마찬가지로 DC 블로킹 커패시터를 사용하며, 각기 출력으로 간단한 RC 네트워크를 위해서 박막 필름 저항과 COG/NPO를 사용한다. 또한 마찬가지로 153KHz 수동 RC 필터를 사용할 수 있다.

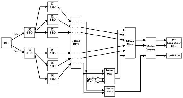
이 회로에는 출력/입력 부분에 접지 배선이 없다는 것을 알 수 있다. 이렇게 함으로써 이 회로로 접지 잡음이 유입되지 않도록 할 수 있다. 완벽하게 브리징되어 있고 공통 모드 제거가 뛰어나기 때문이다. PCM5242와 PCM5252의 특징은 miniDSP를 활용할 수 있다는 것이다. miniDSP를 활용해서 필터링을 하기 위한 풍부한 바이쿼드를 구현할 수 있다. 또 3대역 동적 범위 압축기와 스테레오 모노 믹서를 구현할 수 있다.
그 다음은 음량 제어이고, 그 다음은 필터이고, 출력을 해서 증폭기로 이어진다. 그러므로 miniDSP를 활용해서 낮은 가격대로 고성능 시스템을 구현할 수 있다. PCM5252의 또 다른 특징은 ‘스마트 증폭기’ 기능을 제공한다는 것이다. ‘스마트 증폭기’ 기능은 무엇일까? 스마트 증폭기는 PCM5252로 지원되는 일련의 DSP ROM 모듈이다. 이러한 기능의 하나로서 Smart SOA는 전기-기계-열 모드를 사용해서 열 과부하나 음성 코일 오버 익스커션으로 인해서 스피커를 손상시키는 것을 피하면서 스피커로부터 평균 출력을 극대화할 수 있다.
Smart BASS 기능은 스피커 특성분석 수치를 사용해서 베이스 대역으로 스피커 출력을 균등화한다. 스피커의 베이스 대역과 심리음향 베이스를 확장한다. Smart EQ 기능은 스피커 특성분석 후에 내부적 DSP를 활용해서 SPL을 원하는 응답으로 정규화한다. 이 슬라이드에서는 Smart SOA가 어떻게 작용하는지 보여준다. 진한 파란색 실선은 24V 전원을 사용했을 때 SPL이다. 녹색 점선은 동적 SPL이다. 오버 익스커션이나 과열로 인해서 SPL이 감소했다.
다음 그림에서는 기존의 한계선을 보여준다. 스피커 출력이 매우 낮다는 것을 알 수 있다. 스마트 증폭기 기능을 사용함으로써 증폭기의 동적 SPL을 조절해서 출력을 높일 수 있다. 스피커 손상을 일으키지 않으면서 스피커로부터 더 높은 출력을 끌어낼 수 있다. 이번에는 Smart BASS를 어떻게 사용하는지 보자. Smart BASS를 사용해서 우퍼의 베이스 응답을 향상시킬 수 있다. 목표는 녹색 선과 같이 달성하는 것이다. 누구든 훌륭한 오디오 시스템을 원한다. 하지만 실제로는 스피커가 파란색 선처럼 응답한다.
그러므로 보정을 해야 하고, 보정을 하기 위해서 신호로 빨간색 선을 주입한다. 그렇게 해서 녹색의 양호한 출력을 얻을 수 있다. Smart SOA를 활용할 수도 있다. 스피커를 너무 세게 구동할 때 베이스로 출력을 낮출 수 있다. 그러므로 Smart BASS 기능을 사용하는 증폭기로 SLA를 보호할 수 있다. 다음은 Smart EQ이다. 스피커 출력은 파란색 선이고, 목표는 녹색 선과 같이 달성하고자 한다. 그러려면 스피커를 균등화해야 한다. 빨간색 선을 사용해서 균등화를 한다. 그러면 실제 출력이 갈색 선과 같이 된다.

이 그림에서는 miniDSP를 사용해서 디지털 크로스오버를 하고 TPA6404-Q1으로 인터페이스하는 것을 설명한다. PCM5242 + PCM510xA + TPA6404-Q1을 사용해서 2.2 구성(4x BTL)이나 2.1 구성(2x BTL, 1x PBTL)을 할 수 있다. miniDSP를 활용해서 추가적인 크로스오버, 베이스 부스트, 동적 범위 압축 같은 것을 할 수 있다. GPIO는 PCM5102A 같이 DSP를 포함하지 않는 DAC 용으로 데이터 출력으로 구성할 수 있다.
지금부터는 TPA6404-Q1을 사용하는 것을 설명한다. 이것은 TPA6404-Q1 EVM의 증폭기 회로이다. 신호가 어떻게 DAC로부터 오디오 입력으로 이어지는지 알 수 있다. PVDD 전원이 있고, 출력 LC 필터가 있다. 어디로부터 THD가 TPA6404로 유입될까? 가능한 요인들로는 내부 증폭기 비선형성이 있고, 2개 적분기가 있고, PWM 생성기가 있다. 그 다음에는 게이트 드라이버 데드 타임이 있고, LC 필터 같은 외부 부품 비선형성이 있다.
2.1MHz 스위칭이 어떻게 THD를 향상시킬까? 알기 쉽게 모델을 보자. 이득 A는 PWM과 게이트 드라이버이다. 왜곡 D는 개략적인 루프 왜곡이다. 신호 전달 함수는 Y = A/S2 + A * X이다. 왜곡 전달 함수는 Y = S2/S2 + A * D이다. 2.1MHz가 어떻게 THD를 향상시키는지 보자. 이 전달 함수는 더 높은 스위칭 주파수를 사용해서 THD를 더 높은 주파수로 이동시킨다. 그러므로 오디오 대역으로 THD가 낮아진다.
그래프에서 보듯이, 기존의 400K 스위칭을 사용하면 루프 대역폭이 약 70KHz이다. 그러므로 오디오 대역으로 THD가 훨씬 높다. 2.1MHz 스위칭을 사용하면 루프 대역폭이 300KHz로 늘어난다. 그러므로 20KHz에서 THD가 훨씬 낮다. 이번에는 2.1MHz 스위칭이 어떻게 IMD를 향상시키는지 보자. IMD 왜곡이란 무엇일까? 그림에서 보듯이, f1과 f2의 두 주파수가 있다고 했을 때 이 둘의 곱이나 f2에서 f1을 뺀 차가 발생될 수 있다.
또 f1과 f2의 측대역으로서 2f1-f2와 2f2-f1이 발생될 수 있다. 또한 이차, 삼차, 사차 왜곡 성분이 발생될 수 있다. 이런 식으로 IMD 왜곡으로 인해서 음질이 나빠진다. 그렇다면 어떻게 2.1MHz를 사용해서 IMD를 향상시킬까? 이것은 주파수에 따른 정격 THD 그래프로서, 6.7KHz에서 THD가 매우 낮다는 것을 알 수 있다. 하지만 실제로는 THD가 점선과 같이 계속해서 이어진다.

그러므로 기존의 400KHz 스위처를 사용하면 루프 대역폭이 70KHz이고 3KHz 대에서 THD가 매우 높다. TI의 2.1MHz 스위칭은 300KHz 루프 대역폭으로 10KHz 대나 20KHz 대에서도 THD가 매우 낮다는 것을 알 수 있다. 1KHz와 18KHz 대에서 IMD를 보면, 피크가 높고 주변으로 고조파들이 발생되는 것을 볼 수 있다. 400KHz를 사용할 때는 녹색 선이 훨씬 높고, 2.1MHz 스위칭을 사용할 때는 녹색 선이 훨씬 낮다. 그러므로 IMD의 왜곡 성분이 훨씬 낮다.
그러면 프리미엄 오디오 시스템 용으로 TPA6404-Q1을 채택한 디자인 예를 보자. 프리미엄 사운드 시스템을 위해서는 벌크 커패시턴스를 늘려야 한다. 이를 위해서는 각기 PVDD 핀으로 대형의 전해 커패시터를 사용할 수 있다. VBAT 전원 핀으로도 마찬가지이다. 이렇게 함으로써 오디오 대역으로 역동적인 전류 요구량에 따라서 훨씬 더 안정적으로 PVDD를 제공할 수 있다. 또한 전원 공급이 오디오에 따라서 변조하지 못하도록 함으로써 THD와 IMD를 향상시킬 수 있다.

이 그림에서는 PCB 하단면에 오디오 증폭기의 PVDD 핀에 매우 가깝게 전문적인 오디오급 전해 커패시터를 탑재하고 있다. 다만 최종 고객들마다 선호하는 오디오급 전해 커패시터가 다를 수 있다. 그렇다면 왜 오디오급 전해 커패시터를 필요로 할까? 이것은 축전 능력이 매우 우수하고 오디오 대역으로 잡음이 낮기 때문이다. 이번에는 출력 LC 필터를 보자. 먼저 메인 필터 커패시터로 세라믹 대신에 필름 커패시터를 사용할 수 있다. 이것은 1μF 50V 커패시터이다.
필름 커패시터는 전압에 대해서 안정적이고, 그러므로 IMD를 향상시킨다. 고품질 페라이트 인덕터는 주파수와 온도에 대해서 선형성이 우수하다. 또한 LC 필터를 대역폭이 넓도록 설계할 수 있다. 2.1MHz 스위칭을 사용하면 LC 필터로 약 100KHz 대역폭을 사용할 수 있다. 이렇게 하면 오디오 대역으로 위상 변화를 일으키지 않고 매우 우수한 그룹 지연을 달성할 수 있다. 또한 대역폭이 넓으면 필터 Q 위상 응답이 오디오 대역으로 영향을 미치지 않는다. 출력 LC 필터 설계 예를 보자.
빨간색 상자로 표시된 필름 커패시터는 훨씬 더 우수한 THD를 달성한다. 또 화살표로 표시된 고품질 페라이트 인덕터 역시 THD를 향상시킨다. 공통 모드를 향상시키기 위해서는 PCB 레이아웃을 잘 해야 한다. 공통 모드를 향상시키기 위해서는 모든 4개 채널 각각으로 필름 커패시터 접지를 가깝게 해야 한다. 이들 제품의 차별화 요인을 다시 한 번 요약해서 말씀 드리겠다.
TPA6404-Q1은 2.1MHz PWM 스위칭을 사용해서 THD와 IMD를 향상시킨다. DAC 제품들은 대역외 잡음이 낮으므로 OP AMP를 사용할 필요 없이 단순 RC 필터를 사용할 수 있다. 평형적인 출력과 입력은 공통 모드 제거와 잡음을 향상시킨다.
TI.com 웹사이트로 들어오시면 추가 정보를 보실 수 있다.
기사입력 : 2020-05-12
이더넷이 소프트웨어 정의 차량으로의 전환을 가속화하는 방법
작성자 : Madison Ecklund 외 1인
차세대 AI 컴퓨팅 성장: 고려해야 할 전력 공급 트레이드오프
작성자 : 텍사스 인스트루먼트
TOLL GaN으로 태양광 에너지 시스템의 한계를 확장하다
작성자 : Sai Madhav 외 1인
스마트 전력 분배: 자동차 기술의 미래를 형성하다
작성자 : David Martinez
초음파를 이용한 가스 유량 감지
작성자 : 레오나르도 에스테베즈 외 1인
GaN FET 기반의 10kW 단상 스트링 인버터의 설계 고려 사항
작성자 : Riccardo Ruffo 외 1인
새로운 접지 레벨 트랜스레이터로 오프셋 문제를 해결하는 방법
작성자 : TI 코리아
LiDAR의 도약: 정밀한 장거리 감지 기능으로 더 안전한 차량 개발
작성자 : Anthony Vaughan
작지만 강력한 성능의 MCU를 최적화하는 방법
작성자 : Alex Grudzinski
액티브 클램프 플라이 백 설계를 최적화하는 방법
작성자 : Sarmad Abedin